News | company news | Sep 24,2024

New energy electric vehicle chargers are divided into two categories: on-board chargers and off-board chargers, depending on whether they are fixed on the car.
On-Board Charger (OBC) is one of the main products of Dilong New Energy Technology Hebei Co., Ltd. It uses AC power as input and outputs DC power to charge the car’s power battery. In addition, the company also has products such as on-board DC-DC converters and on-board integrated chargers.

Since the basic function of an AC charging pile is to bring the AC power from the power grid to a location convenient for charging electric vehicles and provide a standard charging interface, when a vehicle is charged using an AC charging pile, it needs to be connected to the on-board charger inside the vehicle for AC to DC conversion in order to achieve charging.
The on-board charger is an important component of the electrical system of an electric vehicle. It is fixedly installed inside the vehicle. Its input end is fixed to the vehicle body in the form of a standard charging interface for connecting to an external AC power supply, and its output end is connected to the slow charging interface of the vehicle’s power battery.

In the CAN bus communication topology of electric vehicles, the on-board charger is hung on the CAN bus as a node and exchanges data with the battery management system and the vehicle controller through CAN.
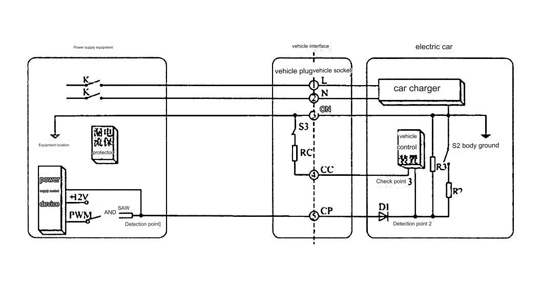
From the charger structure diagram in the standard “QCT 895-2011 Conductive On-board Charger for Electric Vehicles”, we can see that the main components of the on-board charger are the input port, control unit, power unit, low-voltage auxiliary unit and output port.

As shown in the figure, the input interface has 7 pin ports and three types of connections, including AC power connection, high-voltage neutral line, vehicle chassis ground, charging connection confirmation and control confirmation.
The standard input interface uses a single-phase input voltage of 220V, but if the power requires, two spare pin ports can also be enabled to achieve 380V input.
The control unit communicates with the vehicle battery management system through CAN, makes charging requests, monitors charging, and adjusts the output current and voltage to achieve output current and voltage close to the values required by the battery management system.
The low-voltage auxiliary unit is a standard low-voltage power supply with an output voltage of 12V or 24V. It is used to power the electric vehicle battery management system, thermal management system, instruments, etc. during charging.
The power unit mainly converts the input AC power into DC power suitable for the voltage of the power battery system.
The output port includes two pin ports for the positive and negative poles of the low-voltage auxiliary power supply, two pin ports for the positive and negative poles of the high-voltage DC output and the chassis ground, CAN communication H and L and charging request signal lines.
According to the detailed description of the charging process of the on-board charger in the standard “QCT 895-2011 Conductive On-board Charger for Electric Vehicles”, the main steps include connection confirmation, preparation, charging start and charging completion.

Step 1: Connection confirmation
After completing the connection with the external power plug socket, the vehicle is in a non-drivable state, and the vehicle controller VCU starts to check the voltage of detection point 3 to confirm whether the external power plug is well connected to the vehicle.
As shown in the figure, when the switch S1 is closed, the PWM generator on the power supply device sends a modulated pulse signal, and the VCU checks whether the detection point 2 receives the PWM signal. If there is a signal, it means that the charging device is connected.
Step 2: Get ready

As shown in the on-board charger control boot circuit diagram above, after completing the connection confirmation process, the on-board charger sends a charging request signal to the VCU and supplies power to the vehicle controller through a low-voltage power supply. If the VCU determines that the battery pack can be charged, it sends a charging message to the on-board charger.
The power supply device then provides the maximum charging current value to the vehicle controller. After the VCU comprehensively considers the maximum currents of the battery pack, the on-board charger and the power supply device, it selects the minimum value as the upper limit of the charging current to avoid overcurrent in any of the three.
Step 3: Start charging
After the charging current threshold is set, the slow charging circuit relay is closed and the charging process begins. During the process, the VCU monitors the status of detection point 3 and periodically confirms whether the connection status is intact. The power supply device monitors detection point 1 to confirm whether the connection is intact.
Step 4: Charging completed
The condition for charging to be completed is that the battery is fully charged or during the charging connection confirmation process, if any connection confirmation condition is not met, the VCU will request to end the power supply and send a message to request the on-board charger to stop working.
--- END ---
Feb 04, 2026
Why is single‑phase window type current transformer so popular in the South American electricity market? —Technical Analysis Based on the South American Power Bureau’s Bidding and Outdoor Environment In countries, like Brazil, Chile, Peru and Colombia the power infrastructure construction has kept growing in recent years. The distribution network upgrades, the energy grid integration and the… Continue reading Why single‑phase window type current transformer Dominate South America’s Power Grid
Feb 03, 2026
Why have single phase satuation current transformers (CTs) become an essential core component of switchgear in Southeast Asia? — Detailed technical analysis using the ICT series encapsulated transformer as an example. We examine the ICT series encapsulated transformer. In Asian countries such, as Malaysia, Indonesia, Thailand and Vietnam the low-voltage switchgear appears a lot in… Continue reading Why Single-Phase Saturation Isolation Current Transformers Are Essential in Switchgear
Jan 22, 2026
People use Current transmitter. Why do people use transmitters, in the chillers the air compressors, the generators and the IoT systems? In systems I see chillers, in commercial buildings air compressors in factories and generators, in data centers. The chillers, the air compressors and the generators all have one thing in common. In short devices… Continue reading Why Current Transmitter Matter in Chiller, Air Compressor, and Generator